华强商城 被动器件(电容/电阻/电感) BOM配单 原厂专区 PCB制板 积分兑换
0
首页>IC索引

TPS62651

具有 I2C 兼容接口的 800mA、6MHz 高效降压转换器

TPS62651产品信息:

TPS6265x器件是一种高频同步降压dc-dc转换器,适用于电池供电的便携式应用程序。用于低功率应用,TPS6265x支持高达800mA负载电流,并允许使用小,低成本的电感和电容。

该设备非常适合使用单芯锂离子电池供电的手机和类似的便携式应用程序。通过I(2)C接口,输出电压范围可调至0.75V,该设备支持智能手机和手持电脑中的低压dsp和处理器核心电源。

TPS6265x工作在一个调节的6MHz开关频率,并进入效率运行优化的省电模式,在轻负载电流上运行,以保持在en再负载电流范围内的高效率。在shutdown模式下,当前的消耗将减少到小于3.5µA。

串行接口兼容标准,快/快加和高速模式I(2)C规范,允许传输高达3.4 Mbps。此通信接口用于动态电压缩放与电压阶降至12.5mV,设置输出电压或重编程的模式上的歌剧(PFM/PWM或强制PWM)例如。

TPS6265x采用9引脚芯片级封装(CSP)。

TPS62651数据手册:

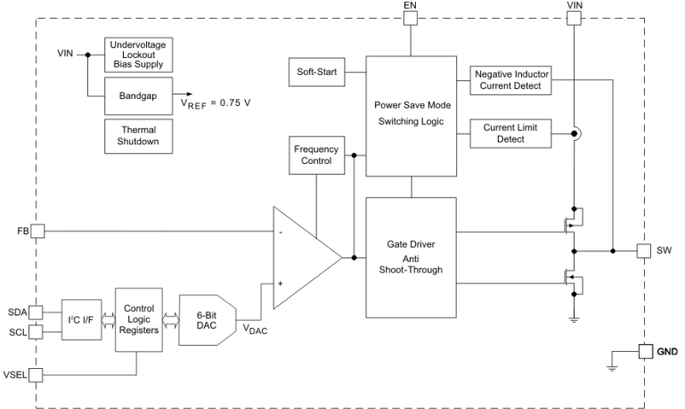
TPS62651引脚功能、电路图:

相关型号:

TCH20A20 TCH30A15 TCH20A15 TCH10A15 TCH20A10
TCH10A10 TCH30A06 TCH20A20-11A TCH30A15-11A TCH20A15-11A
TCH10A15-11A TCH20A10-11A TCH10A10-11A TCH30A06-11A TCQ30A06
TCQ30A04 TCQ20A04 TCQ10A04 TCQ20A03L TCQ30A06-11A
按首字母检索