华强商城 被动器件(电容/电阻/电感) BOM配单 原厂专区 PCB制板 积分兑换
0
首页>IC索引

UC2573

降压脉宽调制器降压稳压器

UC2573产品信息:

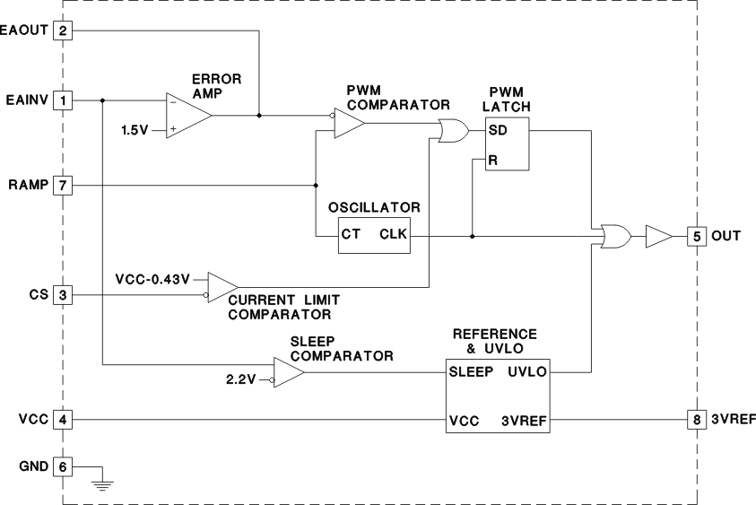
UC3573是降压脉宽调制器,降压和调节正输入电压。该芯片可用于采用外部PMOS开关的单电感buck开关转换器。该框图包括一个精密基准,一个配置为电压模式运行的误差放大器,一个振荡器,一个带有锁存逻辑的PWM比较器,以及一个0.5A峰值栅极驱动器。UC3573包括一个欠压锁定电路,以确保足够的输入电源电压,在任何开关交流能发生之前,和一个脉冲脉冲电流限制。输入电流可以被感知和限制到用户确定的最大值。此外,睡眠比较器接口到UVLO电路,当输入电压低于UVLO阈值时,芯片关闭。这将电源电流降低到仅50uA,使UC3573成为电池供电应用的理想选择。

UC2573数据手册:

UC2573引脚功能、电路图:

相关型号:

UCHD30A09 UCHS30A12 UCHS20A12 UCHS10A12 UCHS30A08
UCHS20A08 UCHS10A08 UCHS10A065 UCQS10A065 UCQS30A045
UCQS20A045 UCQ30A03 UCF20B40 UCF10B40 UCU20D30
UBA2213CT UBA2213BT UBA2213AT UBA2211CT UBA2211BT
按首字母检索