华强商城 被动器件(电容/电阻/电感) BOM配单 原厂专区 PCB制板 积分兑换
0
首页>IC索引

VN800PT-E

高侧驱动器

VN800PT-E产品信息:

描述

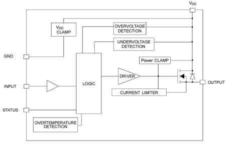
VN800S-E、VN800PT-E是微电子制造的单片器件 VIPower M0-3技术,用于驱动任何一种负载与地面连接的一侧。有源VCC引脚电压箝位再次保护器件的低能量峰值。
有功限流结合热停机和自动再art保护装置再次过载。当接地针断开时,设备自动关闭。该装置特别适用于符合IEC1131(可编程控制器国际标准)规范的工业应用。
  • 所有功能

    • CMOS兼容的输入
    • 热关机
    • 当前的限制
    • 做空负载保护
    • 欠压和过压停机
    • 保护再失地
    • 电流非常低
    • 反向电池保护
    • 符合2002/95/EC
    • 欧洲指令

VN800PT-E数据手册:

VN800PT-E引脚功能、电路图:

E

代 表 公 司 TEMIC公司 元件种类或用途集成电路 典 型 型 号 公 司 简 介

ee本 T3怎么样

ee本 T3除了传统的数据线、充电器、耳机外,这款产品还配备了原装保护皮套、原装手写笔。ee本的平均厚度为9.9mm,电磁手写笔的大小跟我们普通的圆珠笔并无太大区别,笔头可以书写,令人感到意外的是笔帽可以进行擦除操作。此外,电磁笔中部是功能键,可以进行范围框定等操作。

ICQ3-E

【用 途】 桥式整流硅堆 【性能 参数】硅 300V 1A Vf=1V Lfsm=50A 【互换 兼容】

2CK73A-E

【用 途】 开关二极管 【性能 参数】硅 20-60V 50mA Vf=1V Trr=5ns 【互换 兼容】

BFV85D/E

【用 途】 低噪声音频放大 【性能 参数】硅 NPN 45V 0.03A >30MHz 【互换 兼容】3DG110C

SAA5254P/E

【用 途】 【性能 参数】

2SK55-E

【用 途】 场效应调频/甚高频/混频管 【性能 参数】N沟 15V 6-14mA 0.15W 【互换 兼容】

2SK41NP-E

【用 途】 场效应调频/高频放大/混频管 【性能 参数】N沟 18V 2.5-6mA 0.15W 100MHz 【互换 兼容】

EPOEN彩激8500C/8600C维修代码

E 113 无定影器E 510 激光器棱镜电机故障E 511 电机 1 故障E 512 P/H 电机故障E 513 NVRAM 故障E 516 双面单元故障(通信故障)E 517 可选纸盒故障E 520二次转印故障(Advance)E 521 二次转印故障E 523 PCDC 故障E 524 碳粉浓度过低E 525 碳粉浓度过高E 526 ADC 传感器脏E 527 显影原位传感器故障E 530

Viper22ADIP-E

【用 途】 开关电源稳压模块【性能 参数】  采用DIP-8(双列直插式)塑封结构,8只引脚实际只有4只,该模块内部集成有高压电流源,基准电压源、OSC振荡器、PWM比较器、RS锁存器、驱动级、MOSFET功率开关器件、过电压保护、过电流保护、过热保护以及欠压锁定(UVLO)等电路。输出功率为13W。

相关型号:

VSHS15A12 VSHS10A12 VSHS03A12 VSHS15A08 VSQS10A065
VSQS15A045 VSQS10A045 VCF06A20 VSF05A20 VG-95218-T023-F001
VG95218-T022-D008 VG-95218-T028-D065CK3100 VG-95218-T028-D068CK3100 VG-95218-T028-D062CK3100 VG-95218-T028-D057CK3100
VG-95218-T028-E010CK3100 VG-95218-T028-D050CK3100 VG-95218-T028-D056CK3100 VG-95218-T028-D063CK3100 VG-95218-T028-D060CK3100
按首字母检索