华强商城 被动器件(电容/电阻/电感) BOM配单 原厂专区 PCB制板 积分兑换
0
首页>IC索引

VSP2582

适用于CCD传感器的12位36议员单通安全道

VSP2582产品信息:

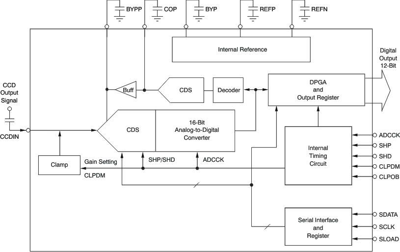
VSP2582是一个完整的数字相机混合信号处理IC,为电荷耦合器件(CCD)阵列的输出提供相关双采样(CDS)和模数转换(ADC)。CDS从CCD信号中提取像素的视频信息,ADC将其转换为数字信号。对于变化的照明条件,-9 dB到+35 dB非常稳定的增益控制提供。这个增益控制在dB中是线性的。还提供输入CDS的输入信号箝位和偏移校正。

偏置校正由光学黑色(OB)电平校准回路执行,并保持在校准的黑电平夹紧,以获得准确的黑电平参考。此外,黑色电平在增益变化后很快恢复。

VSP2582可在QFN-36封装,并从一个单一的+ 3v电源运行。RHH封装具有一个暴露的热垫,从而大大提高热性能。

VSP2582数据手册:

VSP2582引脚功能、电路图:

相关型号:

VSHS15A12 VSHS10A12 VSHS03A12 VSHS15A08 VSQS10A065
VSQS15A045 VSQS10A045 VCF06A20 VSF05A20 VG-95218-T023-F001
VG95218-T022-D008 VG-95218-T028-D065CK3100 VG-95218-T028-D068CK3100 VG-95218-T028-D062CK3100 VG-95218-T028-D057CK3100
VG-95218-T028-E010CK3100 VG-95218-T028-D050CK3100 VG-95218-T028-D056CK3100 VG-95218-T028-D063CK3100 VG-95218-T028-D060CK3100
按首字母检索