华强商城
被动器件(电容/电阻/电感)
BOM配单
原厂专区
PCB制板
积分兑换
关键词必须两个字符以上
搜索
最近搜索
清除记录
0
购物车
询价
客服
客服
微信扫一扫
热线
客服热线
400-830-6691
服务时间
周一至周六 9:00~18:00
公众号
关注微信公众号
首页
>
IC索引
L9524C
分享到:
电热塞系统控制IC
L9524C产品信息:
描述
该L9524C是一个控制IC多达六个辉光插头的柴油发动机。辉光插头的开关由多达四个外部pwm控制的n通道功率mosfet或一个高侧配置的单一继电器。电源电压,电池电压,结温度,开关,电流通过辉光插头,电荷泵电压被监测。
两线接口用于与柴油机管理系统通信。
所有功能
在负载转储期间主动夹紧
充电泵电压监测与关闭
通过过电流关机的辉光插头的电流监测(可设置阈值)
结温度监测与关闭
高侧配置的外部n通道功率mosfet的四栅驱动器
由PWM输出信号驱动的门
具有闸极充放电电流
有限gate-to-source电压\ t \ t
电感负载负箝位
先进的径流控制\ \ t
通过辉光插头调节电源
Battery-voltage-compatible双线式接口
控制输出外部继电器驱动器
电池电压监测与关机
监控外部开关
电源电压监测与关闭
L9524C数据手册:
l9524c.pdf
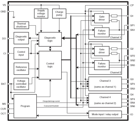
L9524C引脚功能、电路图:
相关型号:
LM75BGD
LM75ADP
LM75AD
LM75BTP
LM75BDP
LM75BD
LPC5536JHI48
LPC5534JHI48
LPC5536JBD64
LPC5536JBD100
LPC5534JBD64
LPC5534JBD100
LPC51U68JBD64
LPC51U68JBD48
LPC55S69JEV98
LPC55S69JBD64
LPC55S69JBD100
LPC55S66JEV98
LPC55S66JBD64
LPC55S66JBD100
按首字母检索
A
B
C
D
E
F
G
H
I
J
K
L
M
N
O
P
Q
R
S
T
U
V
W
X
Y
Z
0
1
2
3
4
5
6
7
8
9