电子元器件产业互联网平台
一站式电子元器件采购平台
元器件移动商城,随时随地采购
半导体行业观察第一站!
专注电子产业链,坚持深度原创
电子元器件原材料采购信息平台
[导读] CMOS PLL译码电路
[导读] YN5203-M6译码电路图
[导读] 单片ZH8901译码电路
[导读] PLL译码电路
[导读] HYY27/28译码电路
[导读] YYH27,28译码器电路
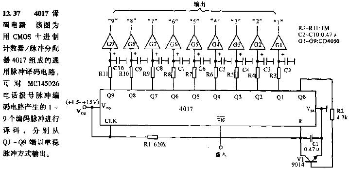
[导读] 4017译码电路
[导读] PPM UAA4009译码电路
[导读] HT-12F译码电路图
[导读] ADPCM编译码系统电路 模拟信号
Copyright 2010-2023 hqbuy.com,Inc.All right reserved. 服务热线:400-830-6691 粤ICP备05106676号 经营许可证:粤B2-20210308
登录
请问您是:
采购商 工程师 在校学生 其他
您希望看到什么内容:
电子资讯 技术文章 PDF资料 电子论文 其他