一站式电子元器件采购平台

华强商城公众号

一站式电子元器件采购平台

元器件移动商城,随时随地采购

华强商城M站

元器件移动商城,随时随地采购

半导体行业观察第一站!

芯八哥公众号

半导体行业观察第一站!

专注电子产业链,坚持深度原创

华强微电子公众号

专注电子产业链,
坚持深度原创

电子元器件原材料采购信息平台

华强电子网公众号

电子元器件原材料采购
信息平台

安森美半导体NCP1095 & NCP1096大功率PoE-PD控制器的介绍、特性、及应用

来源:HQBUY 发布时间:2021-07-08

摘要: 安森美半导体NCP1095和NCP1096高功率PoE-PD控制器是以太网电源供电设备(PoE-PD)接口控制器,专为连接照明和安全摄像头等应用而设计。NCP1095和NCP1096完全符合IEEE 802.3bt、802.3af和802.3.


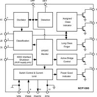
    安森美半导体NCP1095和NCP1096高功率PoE-PD控制器是以太网电源供电设备(PoE-PD)接口控制器,专为连接照明和安全摄像头等应用而设计。NCP1095和NCP1096完全符合IEEE802.3bt、802.3af和802.3at标准,并在PoE系统中包含了所有功能,如检测、分类和浪涌阶段的电流限制。NCP1096还具有集成的n通道MOSFET负载开关,提高了辅助电源为PD供电的功率效率。


    NCP1095和NCP1096通过外部通晶体管支持高功率应用(PoE高达90W)。电源好引脚保证了相邻的主DC-DC变换器的正确禁用和启用。分类结果引脚允许根据指定的功率类别(最多8类)进行操作。

    这些设备还提供自动类支持,并指示何时可以实现短维护功率信号。此外,辅助电源检测引脚允许它们用于PoE或墙适配器供电的应用。

    ON Semiconductor NCP1095和NCP1096 PoE-PD接口控制器采用16引脚薄缩小轮廓封装(TSSOP),不含Pb,符合RoHS要求。


    特性

    • 完全符合IEEE 802.3bt、IEEE 802.3af、IEEE 802.3at

    • 保证PoE设备之间的互操作性

    • 支持多达5个事件的物理层分类

    • 指定的功率级别高达90W

    • 功能内部71欧姆通过支持大功率晶体管的应用程序

    • 辅助电源连接时,主桥接和热插拔FET失效,提高了功率效率(仅NCP1096)

    • 支持Autoclass

    • 典型励磁涌流限制

    • 排水电源良好指示器

    • 支持短议员

    • Pass开关禁止输入后辅助电源操作

    • 专有的100 w +应用程序

    • 过电流保护

    • 在温度保护

    • -40°C到+125°C结温度范围

    • 包装类型:TSSOP-16

    • 不含Pb,符合RoHS要求


    应用程序

    • 数字标牌

    • 卫星数据网络

    • 连接照明

    • 视频和VOIP电话

    • 安全摄像头

    • Pico基站

    • 多波段接入点

    • USB c型


    数据表

    • NCP1095 PoE-PD控制器

    • NCP1096 PoE-PD控制器,内置热插拔FET


    NCP1095框图



    NCP1096框图



    NCP1095应用电路



    NCP1096应用电路


    声明:本文观点仅代表作者本人,不代表华强商城的观点和立场。如有侵权或者其他问题,请联系本站修改或删除。

    社群二维码

    关注“华强商城“微信公众号

    调查问卷

    请问您是:

    您希望看到什么内容: