一站式电子元器件采购平台

华强商城公众号

一站式电子元器件采购平台

元器件移动商城,随时随地采购

华强商城M站

元器件移动商城,随时随地采购

半导体行业观察第一站!

芯八哥公众号

半导体行业观察第一站!

专注电子产业链,坚持深度原创

华强微电子公众号

专注电子产业链,
坚持深度原创

电子元器件原材料采购信息平台

华强电子网公众号

电子元器件原材料采购
信息平台

Broadcom adp - 9922 / adp - 9160传感器的介绍、特性、及应用

来源:HQBUY 发布时间:2021-06-08

摘要: Broadcom APDS-9922/APDS-9160环境光和接近传感器提供数字I (2)C兼容接口环境光传感器(ALS)和接近传感器与红外LED在一个单一的8针封装。ALS允许在低光条件下或在黑暗面板后面对光强度产生光敏反应。该设备近似...

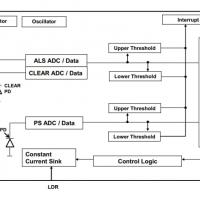
Broadcom APDS-9922/APDS-9160环境光和接近传感器提供数字I (2)C兼容接口环境光传感器(ALS)和接近传感器与红外LED在一个单一的8针封装。ALS允许在低光条件下或在黑暗面板后面对光强度产生光敏反应。该设备近似于人眼的响应,提供直接读出,其中输出计数与环境光水平成比例。APDS-9922/APDS-9160传感器具有弱光功能,可在黑暗玻璃后操作。从明亮的阳光到黑暗的房间,接近检测功能运行良好。模块内的微型光学镜头,允许红外线能量的高效传输和接收,降低整体功率损耗。该设备采用低功耗待机模式,平均功耗非常低。

特性

  • 光模块中的ALS、IR LED和接近探测器
  • 环境光传感(ALS)
    • 光输出与光强成正比
    • 采用光学涂层技术模拟人眼的光谱响应
    • 在不同的光源条件下工作良好
    • 低光敏性——在深色玻璃后操作
    • 高达20位的分辨率
  • 近距离探测
    • 集成红外LED和同步LED驱动器
    • 11位分辨率
  • 电源管理
    • 有功电流低
    • 低待机电流
  • (2) C接口兼容
    • 高达400kHz (I(2)C快速模式)
    • 专用的中断销
  • 宽电源电压1.7V至3.6V
  • 小包装

应用程序

  • 手机背光调光
  • 手机触屏禁用
  • 扬声器自动启用
  • 数码相机眼传感器

adp - 9160 - 003框图



adp - 9922 - 001框图


声明:本文观点仅代表作者本人,不代表华强商城的观点和立场。如有侵权或者其他问题,请联系本站修改或删除。

社群二维码

关注“华强商城“微信公众号

调查问卷

请问您是:

您希望看到什么内容: